站群主站的院系部門設置修改
如果我們要修改機構設置上面的院系部門的名字和鏈接(如下圖),可以根據本文檔教程

一、 進入站群主站后臺方式;
方式A:從統一登錄界面入口進去---點擊主站的后臺按鈕!

方式B:后臺進入方法
超級管理員在系統后臺,點擊“模板與菜單”按鈕!

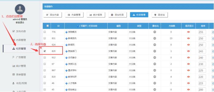
二、 找到該機構設置的欄目
A:進入后臺----點擊【欄目管理】------找到這個院系設置的欄目(可以根據名字,也可以根據前面的ID號數字)--------點擊右邊的顯示欄目標簽按鈕

B:出現此界面,可以看到藍色的小標簽------------鼠標左鍵快速連續雙擊,進入藍色標簽里面的內容

C:進入標簽內容編輯頁面---------修改對應要調整的網站名字和鏈接
特別是鏈接,需要是帶上http(直接從瀏覽器上復制即可);修改的時候,務必不要修改其他地方,否則會出錯。
鏈接的修改:是在兩個引號之間; 文字的修改:是在 > </a>之間

三、 靜態院系設置的欄目
A:進入后臺----點擊【欄目管理】------勾選這個欄目--------點擊底部的靜態欄目


備注:如果修改后,要看到效果,務必瀏覽器上刷新頁面,即可看到!如果還不行,
就清理瀏覽器cook,再刷新頁面查看 。
本文檔下載: